了解您的多功能一体机

  部件

  操作面板

  软件

Lexmark 6200 Series多功能一体机同时具有彩色扫描仪、彩色打印机、彩色复印机、和彩色PC传真机的功能。

注意:您无需将您的多功能一体机连接在计算机上,独立操作就可以进行复印或者打印存储卡中的照片。


部件

下面的图示和表格详细介绍了多功能一体机的每个部件。

编号

使用此部件:

当您希望:

1

纸张支架

装入纸张。

2

进纸保护盖

防止小物体掉进多功能一体机内。

3

顶盖

打开顶盖后可以将要扫描的物体放置在扫描仪玻璃上,或者从扫描仪玻璃上取走物体。

4

扫描仪部分

抬起:可以露出打印墨盒。

放下:可以扫描放置在扫描仪玻璃上的物体。

5

存储卡盖

保护存储卡插槽和PictBridge插口。

6

PictBridge插口

将PictBridge兼容数码相机连接在您的多功能一体机上。使用数码相机中的设置可以选择并打印您的照片。

7

出纸托盘

盛放多功能一体机送出的打印页。

出纸托盘最多可以容纳:

  • 25张普通纸
  • 20张标签纸
  • 10个信封
  • 20张卡片纸
  • 1张透明胶片
  • 1张照片/光滑纸

注意:为了避免出现污迹,请随时从出纸托盘中移开多功能一体机送出的透明胶片或照片/光滑纸。照片或透明胶片可能需要15分钟才能完全干燥。

8

显示屏

  • 预览放置在扫描仪玻璃上的文档和照片,或者存储卡中的照片。
  • 检查多功能一体机的状态。

9

操作面板

操作您的多功能一体机(请参阅使用操作面板获取有关每个按钮的详细信息)。

10

进纸导轨

确保纸张能够正确进入多功能一体机内。

编号

使用此部件:

当您希望:

1

电源插口

为您的多功能一体机提供电源。

2

USB插口

使用USB电缆将您的多功能一体机连接在计算机上。


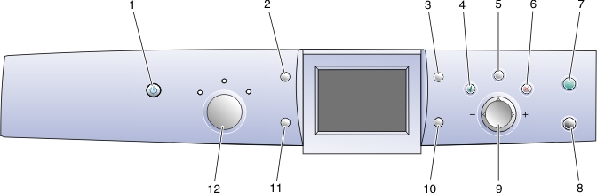
操作面板

使用操作面板

编号

按此按钮:

当您希望:

1

电源

打开或关闭您的多功能一体机的电源。

2

旋转

将操作面板显示屏上的照片旋转90度,以便您更方便地浏览。

3

页面预览

在打印、扫描、或复印图像之前先进行预览。

注意:在扫描之前可以进行多次预览。

在照片存储卡模式下,您可以预览多页。使用箭头按钮浏览照片。

4

选择

  • 选择菜单设置。
  • 在照片存储卡模式下,选择或取消选择要打印的照片。

5

菜单

  • 复印:显示复印模式菜单,或者返回到默认的复印模式菜单界面。
  • 扫描:显示扫描模式菜单,或者返回到默认的扫描模式菜单界面。
  • 照片存储卡:显示照片存储卡模式菜单,或者返回到默认的照片存储卡模式菜单界面。

6

停止/清除

  • 取消复印、扫描、或打印作业。
  • 在照片存储卡模式下,取消选择所选的预览照片。

有关此按钮的其他信息:

  • 当您预览照片时,您可以取消选择所有的照片。请连续按两下“停止/清除”按钮,然后按照操作面板显示屏上的提示进行操作。
  • 当您进行复印时,您可以恢复到默认设置:在默认的复印模式界面中,连续按两下“停止/清除”按钮。

7

彩色开始

根据您选择的模式,开始彩色复印、扫描、或照片作业。

  • 复印:开始彩色复印作业。
  • 扫描:开始彩色扫描作业。
  • 照片存储卡:开始彩色照片作业。

8

黑白开始

根据您选择的模式,开始黑白复印、扫描、或照片作业。

  • 复印:开始黑白复印作业。
  • 扫描:开始黑白扫描作业。
  • 照片存储卡:开始黑白照片作业。

9

上箭头

  • 浏览菜单选项。
  • 当剪裁图像时改变剪裁区域的大小。
  • 在照片存储卡模式下,按照存储卡中的顺序向后跳过10张照片,并在显示屏上显示当前的照片。
  • 在复印模式下,改变空白纸尺寸。

下箭头

  • 浏览菜单选项。
  • 当剪裁图像时改变剪裁区域的大小。
  • 在照片存储卡模式下,按照存储卡中的顺序向前跳过10张照片,并在显示屏上显示当前的照片。
  • 在复印模式下,改变空白纸尺寸。

右箭头(+)

  • 浏览菜单选项。
  • 当剪裁图像时改变剪裁区域的大小。
  • 增加打印份数。
  • 显示存储卡中的下一张照片。

左箭头(-)

  • 浏览菜单选项。
  • 当剪裁图像时改变剪裁区域的大小。
  • 减少打印份数。
  • 显示存储卡中的上一张照片。

10

调整大小

复印模式下:

  • 放大或缩小图像。

在扫描模式下:

  • 没有作用。

在照片存储卡模式下:

  • 设置照片的大小。
  • 剪裁时可以放大或缩小照片。

11

份数

在复印和照片存储卡模式下:

  • 指定复印或打印的份数。

在扫描模式下:

  • 没有作用。

12

模式

选择复印、扫描、或照片存储卡模式。

注意:当前所选模式的指示灯将会变亮。

了解操作面板菜单

  1. 按“模式”按钮选择复印、扫描、或照片存储卡模式。
  2. 按“菜单”按钮显示所选模式的菜单。
  3. 按上下箭头按钮浏览当前模式的各个菜单项。
  4. 按左右箭头按钮浏览当前菜单项的可用设置列表。
  5. 按“选择”按钮选择当前的设置。

复印模式菜单

使用此菜单项:

您可以:

Copy Quality(复印质量)

选择复印的打印质量。

Darker/Lighter(较深/较浅)

使您复印的图像较浅或者较深。

Blank Paper Size(空白纸尺寸)

指定装入纸张支架内的纸张尺寸。

Repeat Image(复制图像)

指定您希望在一页纸上复制的图像数量。

Size of Original(原件尺寸)

指定放置在扫描仪玻璃上的文档原件大小。

Maintenance(维护)

  • 查看墨水容量。
  • 更换打印墨盒。
  • 校正打印墨盒。
  • 清洗打印墨盒喷头。
  • 打印测试页。

Defaults(默认值)

  • 恢复出厂默认设置。
  • 指定装入纸张支架内的纸张类型。
  • 为所有显示的文字选择适当的语言。
  • 指定何时清除多功能一体机设置:After 2 minutes(2分钟以后)或者Never(从不)。
  • 指定多功能一体机何时进入节约能源模式。

扫描模式菜单

使用此菜单项:

您可以:

Maintenance(维护)

  • 查看墨水容量。
  • 更换打印墨盒。
  • 校正打印墨盒。
  • 清洗打印墨盒喷头。
  • 打印测试页。

Defaults(默认值)

  • 恢复出厂默认设置。
  • 为所有显示的文字选择适当的语言。
  • 指定何时清除多功能一体机设置:After 2 minutes(2分钟以后)或者Never(从不)。
  • 指定多功能一体机何时进入节约能源模式。

照片存储卡模式菜单

使用此菜单项:

您可以:

Blank Paper Size(空白纸尺寸)

指定装入纸张支架内的纸张尺寸。

Print Quality(打印质量)

选择打印质量。

Darker/Lighter(较深/较浅)

使您的照片较浅或者较深。

Crop(剪裁)

剪裁照片。

Print All Photos(打印所有的照片)

打印保存在存储卡中的所有照片。

Slide Show(放映幻灯片)

以幻灯片的方式按顺序浏览保存在存储卡中的照片。

Print Index Page(打印索引页)

打印存储卡中的所有照片的索引缩略图。

View Photos or Print(浏览照片或打印)

浏览存储卡中的照片,并选择照片进行打印。

Print DPOF Selection(打印DPOF选择)

直接从存储卡中打印照片。

注意:只有当存储卡中包含有效的DPOF文件时,此菜单项才会出现。

Save to Computer(保存到计算机)

将存储卡中的照片保存到您的计算机上。

Maintenance(维护)

  • 查看墨水容量。
  • 更换打印墨盒。
  • 校正打印墨盒。
  • 清洗打印墨盒喷头。
  • 打印测试页。

Defaults(默认值)

  • 恢复出厂默认设置。
  • 指定装入纸张支架内的纸张类型。
  • 指定您希望打印的照片尺寸。
  • 选择是否在打印之前进行预览。
  • 为所有显示的文字选择适当的语言。
  • 指定何时清除多功能一体机设置:After 2 minutes(2分钟以后)或者Never(从不)。
  • 指定多功能一体机何时进入节约能源模式。


软件

多功能一体机软件主要包括以下几个部分:

使用Lexmark影像工作室

Lexmark影像工作室可以根据您希望完成的任务打开正确的组件,以帮助您轻松快捷地完成任务。

您可以通过以下几种方法打开Lexmark影像工作室:

Lexmark影像工作室将会出现在您的计算机屏幕上。

Lexmark影像工作室按钮

点击:

您可以:

详细说明:

打印照片

从您的计算机打印常见尺寸的照片。

共享照片

扫描并通过电子邮件发送图像,或者通过电子邮件发送保存在您的计算机上的图像。

使用存储卡照片

从您的存储卡中保存或打印照片。

浏览照片

浏览保存在您的计算机上的照片。

打印相册页面

使用不同尺寸的照片打印相册页面或剪贴簿页面。

扫描并编辑文本(OCR)

扫描文档并使用文字处理应用程序编辑其中的文本(OCR)。

扫描

使用Lexmark多功能一体中心扫描照片或文档。

复印

使用Lexmark多功能一体中心复印照片或文档,还可以放大、缩小、或改变其他的特性。

传真

扫描并通过传真发送文档,或者通过传真发送保存在您的计算机上的图像。

Lexmark网站

访问Lexmark的国际互联网站。

提示

了解更多有关此软件功能的信息。

维护/问题解答

使用工具以确保您的多功能一体机处于最佳工作状态。

使用Lexmark多功能一体中心

使用Lexmark 6200 Series多功能一体中心可以帮助您扫描、复印、和传真文档。

您可以使用以下几种方法打开多功能一体中心:

多功能一体中心的“首页”页面将会出现。

“首页”页面

多功能一体中心的“首页”页面主要包括四个部分:“扫描”、“复印”、“创造性项目”、以及预览区域。

在此区域中:

您可以进行以下的操作:

扫描...

  • 选择将扫描的图像发送到哪个应用程序。
  • 选择您要扫描的图像类型。
  • 选择扫描质量。

注意:点击“查看更多的扫描设置”可以显示出所有的设置。

复印...

  • 选择复印的数量和颜色。
  • 选择复印的质量。
  • 选择空白纸张尺寸。
  • 选择文档原件的尺寸。
  • 使您的复印结果较浅或较深。
  • 放大或缩小您的复印结果。

注意:点击“查看更多的复印设置”可以显示出所有的设置。

创造性项目...

您可以从以下的创造性项目中进行选择:

  • 将一个图像在一页纸上复制多个。
  • 放大或缩小图像。
  • 将一个图像打印成多页的海报。
  • 通过电子邮件将图像发送给朋友。
  • 使用计算机调制解调器发送传真。
  • 将图像保存到您的计算机上。
  • 保存多张照片。
  • 编辑扫描的文档中的文本(OCR)。
  • 使用照片编辑器编辑图像。

预览区域

  • 使用您的鼠标在预览图像中选择要扫描或要复印的区域。
  • 预览要打印、要扫描、或者要复印的图像。

注意:如要获取有关“首页”页面的更多信息,请点击位于页面顶部的“帮助”按钮。

“保存的图像”页面

您可以在“保存的图像”页面中对保存在您的计算机上的图像进行操作。“保存的图像”页面主要包括四个部分。

在此区域中:

您可以进行以下的操作:

预览区域

  • 显示或创建文件夹。
  • 预览和选择图像。
  • 重命名、删除、或编辑所选的图像。

打开...

选择将您保存的图像发送到哪个应用程序。

照片打印...

点击“下一步”使用快速照片管理器打印您所选择的照片。

创造性项目...

  • 使用各种照片尺寸打印相册页面。

注意:您也可以在照片中添加文字(请参阅在您的照片下面添加文字标题)。

注意:如要获取有关“保存的图像”页面的更多信息,请点击位于页面顶部的“帮助”按钮。

“维护/问题解答”页面

点击位于多功能一体中心顶部的“维护/问题解答”。

“维护/问题解答”页面为您提供了直接连接到Lexmark解决方案中心的链接。

使用Lexmark解决方案中心

如要打开Lexmark解决方案中心:

  1. 打开Lexmark影像工作室。
  2. 点击“维护/问题解答”按钮。

解决方案中心的“打印机状态”对话框将会出现。

Lexmark解决方案中心包括六个对话框:“打印机状态”、“如何”、“问题解答”、“维护”、“联系信息”、和“高级”。

在此对话框中:

您可以进行以下的操作:

打印机状态(默认对话框)

  • 查看多功能一体机的状态。例如,如果多功能一体机正在打印文档,状态将会是“正在打印”。
  • 查看打印墨盒的墨水容量。

如何

了解如何:

  • 扫描、复印、传真、和打印。
  • 查找并改变设置。
  • 使用多功能一体机的基本特性。
  • 打印横幅、照片、信封、卡片、热转印纸、以及透明胶片等项目。
  • 查找可打印的用户手册。

问题解答

  • 有关您的当前状态的提示。
  • 解决多功能一体机的问题。

维护

  • 安装新的打印墨盒。
  • 查看有关购买新打印墨盒的选项。
  • 打印测试页。
  • 清洗打印喷头,消除水平条纹。
  • 校正打印墨盒,消除模糊边界。
  • 解决其他的墨水问题。
  • 去除日式明信片所留下的渣滓。

联系信息

  • 了解如何通过电话、电子邮件、或者国际互联网站与Lexmark联系。

高级

  • 改变“打印状态”窗口的外观,打开或关闭打印中的语音通知。
  • 改变网络打印设置。
  • 查看软件的版本信息。

注意:如要获取更多的信息,请点击位于对话框右下角的“帮助”按钮。

使用打印属性

打印属性可以控制您的多功能一体机的打印功能。您可以根据所创建项目的类型,在打印属性中改变相关的设置。您差不多可以从任何应用程序中打开打印属性:

  1. 打开您的文档,从应用程序中点击文件 打印
  2. 在“打印”对话框中,点击“属性”、“首选项”、“选项”、或“设置”(取决于您的应用程序或者操作系统)。

打印属性界面将会出现。

“我希望”菜单

当您打开打印属性后,“我希望”菜单将会自动出现。“我希望”菜单中包含一些项目向导(例如打印横幅、打印海报、打印照片、打印信封、或者在纸张的双面打印),可以帮助您为您的打印项目选择正确的打印设置。点击“关闭”可以看到打印属性对话框的全貌。

打印属性对话框

在此对话框中:

您可以改变以下的设置:

质量/份数

质量/速度 — 选择适当的“质量/速度”设置。

多份打印 — 定制多功能一体机如何打印多份文档:逐份或正常。

使用黑白方式打印彩色图像 — 选中此框可以使用黑白方式打印彩色图像。

纸张类型 — 选择您使用的纸张类型,或者选择让打印机传感器自动为您选择纸张类型。

纸张设置

纸张类型 — 选择您使用的纸张类型,或者选择让打印机传感器自动为您选择纸张类型。

打印方向 — 选择您的文档在纸张上的打印方向。您可以选择“纵向打印”或“横向打印”。

打印样式

样式 — 选择您希望打印的文档样式。

双面打印 — 当您希望在纸张的双面进行打印时,请选中此框。

注意:如要获取有关这些设置的更多信息,请用右键点击对话框中的设置名称,然后点击“这是什么?”。

“保存设置”菜单

在“保存设置”菜单中,您可以命名并保存当前的打印属性设置,以便于将来使用。您最多可以保存5个自定义设置。

“选项”菜单

使用“选项”菜单可以改变“打印质量选项”、“纸张类型传感器选项”、“样式选项”、和“打印状态选项”等设置。如要获取有关这些设置的更多信息,请从菜单中打开相应的对话框,然后点击其中的“帮助”按钮(如果对话框中有该按钮)。

“选项”菜单中还为您提供了直接连接到Lexmark解决方案中心各个部分的链接,以及软件的版本信息。

使用纸张类型传感器

您的多功能一体机带有一个纸张类型传感器,可以自动检测以下的纸张类型:

默认情况下,纸张类型传感器应该是启用的。但是,如果您希望关闭纸张类型传感器并手动选择您的纸张类型:

  1. 打开您的文档,从应用程序中点击文件 打印

“打印”对话框将会出现。

  1. 在“打印”对话框中,点击“属性”、“首选项”、“选项”、或“设置”(取决于您的应用程序或者操作系统)。
  2. 在打印属性中选择“质量/份数”对话框。
  3. 在“纸张类型”区域中选择“使用我自己的选择”,然后从下拉列表中选择您使用的纸张类型。

注意:您的多功能一体机只能自动检测纸张的类型,不能检测纸张的尺寸。

重新启用纸张类型传感器

  1. 打开您的文档,从应用程序中点击文件 打印

“打印”对话框将会出现。

  1. 在“打印”对话框中,点击“属性”、“首选项”、“选项”、或“设置”(取决于您的应用程序或者操作系统)。
  2. 在打印属性中选择“质量/份数”对话框。
  3. 在“纸张类型”区域中选择“使用打印机传感器”。

注意:如要获取更多的信息,请点击对话框中的“帮助”按钮。

使用Lexmark照片编辑器

使用Lexmark照片编辑器可以编辑您的图像。如要打开Lexmark照片编辑器,请点击开始 程序所有程序 Lexmark 6200 Series Lexmark照片编辑器

Lexmark照片编辑器将会打开。

在以下的对话框中使用适当的工具编辑您的图像:

注意:将您的鼠标指针移动到工具图标上可以显示详细介绍。

使用Lexmark快速照片管理器

使用Lexmark快速照片管理器可以从您的数码相机存储卡中保存或打印照片。

您可以通过以下方法打开Lexmark快速照片管理器:

快速照片管理器将会出现。

在快速照片管理器中,您可以: